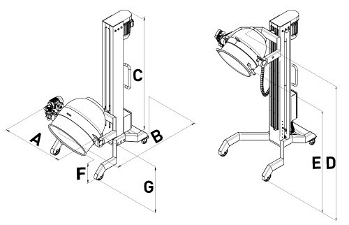
L’élévateur EBF lève et décharge, électriquement, les cuves des batteurs de série I (120l et 140l) de manière agile, augmentant ainsi le confort et la productivité des processus.
Ferneto – Máquinas e Artigos para a Indústria Alimentar, S.A., a été crée en 1986 et concentre son activité sur le développement d’équipements pour l’industrie alimentaire.they are a Portuguese multinational with proven experience in the breadmaking and pastry sectors. The bet on innovation, quality and service, as well as the constant search for solutions generating value and profitability for their customers have been the key to the sustained growth of these last 33 years.La satisfaction de leurs clients, le développement des communautés dans lesquelles ils opèrent et la divulgation du Portugal comme référence mondiale dans le secteur de la boulangerie et de la pâtisserie sont les objectifs auxquels ils accordent une importance fondamentale.
pour plus d'informations n'hésitez pas à visiter le site officiel:
www.ferneto.com
Rubriques pouvant vous intéresser






Service Après vente
Livraison partout dans le monde
